Redis 详解之 —— 单线程高并发
redis 最基本的一个内部原理和特点,就是 redis 实际上是个单线程工作模型。如今在各大互联网公司已经大面积取代了 memcached 的应用。它可以承载相当大的 QPS。在这里,我们通过对 Redis 的线程模型和并发模型对它的高性能进行分析。
Redis 线程模型
redis 内部使用文件事件处理器 file event handler,这个文件事件处理器是单线程的,所以 redis 才叫做单线程的模型。它采用 IO 多路复用机制同时监听多个 socket,根据 socket 上的事件来选择对应的事件处理器进行处理。
文件事件处理器的结构包含 4 个部分:
- 多个 socket
- IO 多路复用程序
- 文件事件分派器
- 事件处理器(连接应答处理器、命令请求处理器、命令回复处理器)
多个 socket 可能会并发产生不同的操作,每个操作对应不同的文件事件,但是 IO 多路复用程序会监听多个 socket,会将 socket 产生的事件放入队列中排队,事件分派器每次从队列中取出一个事件,把该事件交给对应的事件处理器进行处理。
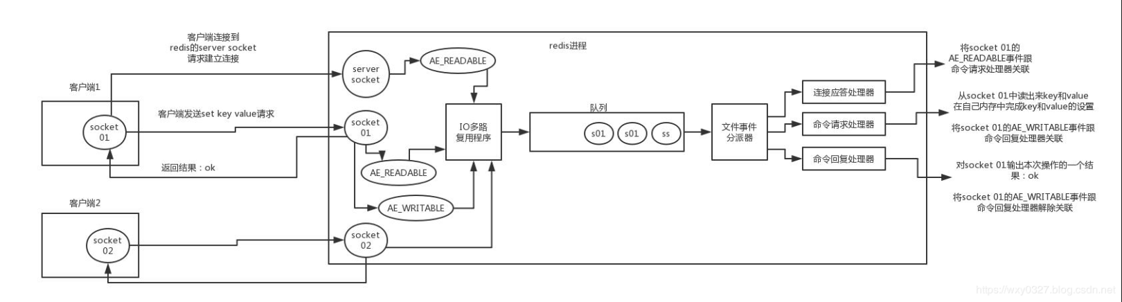
来看客户端与 redis 的一次通信过程:
客户端 socket01 向 redis 的 server socket 请求建立连接,此时 server socket 会产生一个 AE_READABLE 事件,IO 多路复用程序监听到 server socket 产生的事件后,将该事件压入队列中。文件事件分派器从队列中获取该事件,交给连接应答处理器。连接应答处理器会创建一个能与客户端通信的 socket01,并将该 socket01 的 AE_READABLE 事件与命令请求处理器关联。
假设此时客户端发送了一个 set key value 请求,此时 redis 中的 socket01 会产生 AE_READABLE 事件,IO 多路复用程序将事件压入队列,此时事件分派器从队列中获取到该事件,由于前面 socket01 的 AE_READABLE 事件已经与命令请求处理器关联,因此事件分派器将事件交给命令请求处理器来处理。命令请求处理器读取 socket01 的 key value 并在自己内存中完成 key value 的设置。操作完成后,它会将 socket01 的 AE_WRITABLE 事件与命令回复处理器关联。
如果此时客户端准备好接收返回结果了,那么 redis 中的 socket01 会产生一个 AE_WRITABLE 事件,同样压入队列中,事件分派器找到相关联的命令回复处理器,由命令回复处理器对 socket01 输入本次操作的一个结果,比如 ok,之后解除 socket01 的 AE_WRITABLE 事件与命令回复处理器的关联。
这样便完成了一次通信。
几种 I/O 模型
为什么 Redis 要采用 I/O 多路复用技术?
Redis 是单线程的,所以所有的操作都是线性执行的,由于读写操作等待用户输入或输出都是阻塞的,所以 I/O 操作在一般情况下往往不能直接返回,这会导致某一文件的 IO 阻塞导致整个进程无法对其他客户提供服务,而 IO 多路复用就是为了解决这个问题。
回顾 IO 多路复用
多路复用的特点是通过一种机制一个进程能同时等待 IO 文件描述符,内核监视这些文件描述符(套接字描述符),其中的任意一个进入读就绪状态,select, poll,epoll 函数就可以返回。对于监视的方式,又可以分为 select, poll, epoll 三种方式。
Reactor 设计模式
reactor 设计模式,是一种 基于事件驱动 的设计模式。Reactor 框架是 ACE 各个框架中最基础的一个框架,其他框架都或多或少地用到了 Reactor 框架。在事件驱动的应用中,将一个或多个客户的服务请求分离(demultiplex)和调度(dispatch)给应用程序。在事件驱动的应用中,同步地、有序地处理同时接收的多个服务请求。reactor 模式与外观模式有点像。不过,观察者模式与单个事件源关联,而反应器模式则与多个事件源关联 。当一个主体发生改变时,所有依属体都得到通知。
Handles :表示操作系统管理的资源,我们可以理解为 fd。
Synchronous Event Demultiplexer :同步事件分离器,阻塞等待 Handles 中的事件发生。
Initiation Dispatcher :初始分派器,作用为添加 Event handler(事件处理器)、删除 Event handler 以及分派事件给 Event handler。也就是说,Synchronous Event Demultiplexer 负责等待新事件发生,事件发生时通知 Initiation Dispatcher,然后 Initiation Dispatcher 调用 event handler 处理事件。
Event Handler :事件处理器的接口
Concrete Event Handler :事件处理器的实际实现,而且绑定了一个 Handle。因为在实际情况中,我们往往不止一种事件处理器,因此这里将事件处理器接口和实现分开,与 C++、Java 这些高级语言中的多态类似。
文件事件处理器使用 I/O 多路复用模块同时监听多个 FD,当 accept、read、write 和 close 文件事件产生时,文件事件处理器就会回调 FD 绑定的事件处理器。
虽然整个文件事件处理器在单线程上运行,但是通过 I/O 多路复用模块的引入,实现了同时对多个 FD 读写的监控,提高了网络通信模型的性能,同时也可以保证整个 Redis 服务的实现的简单。








